Motorola, the brand behind the world’s first flip phone, had recently launched a new foldable smartphone that featured a clamshell design as a homage to the classic flip phones. But now, a new patent reveals that the company might be working on taking the flip phone evolution a step further.

The new patent was spotted on WIPO (World Intellectual Property Organization) a couple of weeks ago and was spotted by PhoneArena. Looking at this patent, the foldable flip phone will have its display bend outwards rather than inward, which is the opposite of the typical clamshell design. In other words, this is a fresh new take in the flip phone category, with both the front and rear sides being covered by the display when folded.
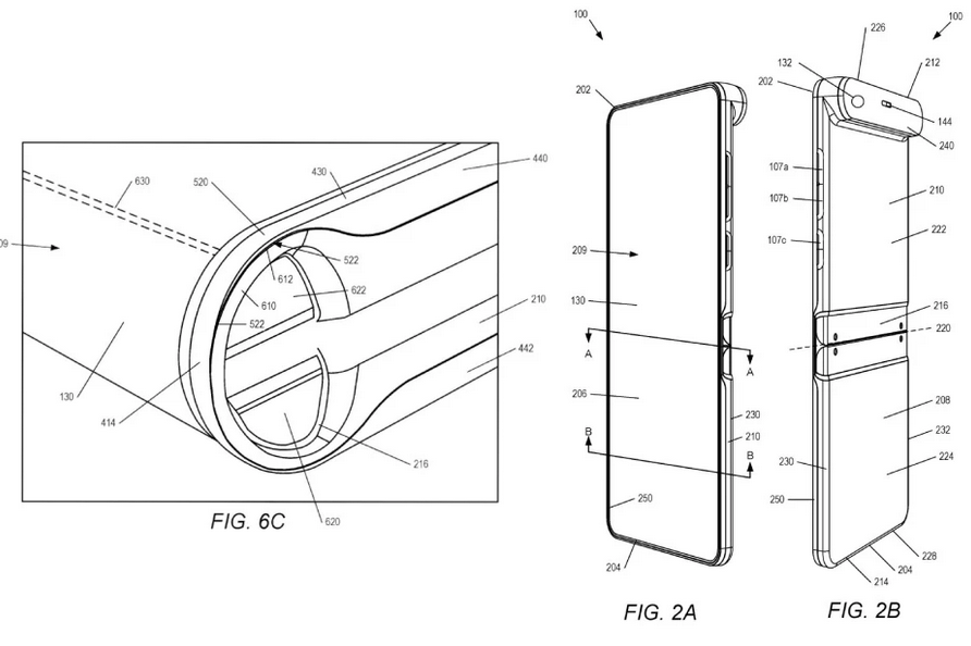
Since its a foldable phone, the device features a flexible screen that can bend backwards from its hinge in the middle. Interestingly, Motorola is only offering a single camera module that is mounted on the upper half of the rear panel. This camera module is raised and will likely act as both the primary and front facing camera since one can just turn the smartphone around and use the folded display on the back to take a selfie.

Keep in mind that this is still just a patent and we have no way of confirming if the American smartphone maker is actually working on such a device. However, with the the launch of the Moto Razr 2019, it is clear that the company is integrating its classic designs with cutting edge technology. So it wouldn’t arrive as a surprise if the next gen Razr features this display.
RELATED:
- Moto G Stylus 2022 launched with 90Hz display, 50MP triple cameras, 5,000mAh battery
- XPENG Motors becomes the first Chinese EV company to enter Sweden
- Motorola Edge 30 Pro to look exactly like the Edge X30: Reveal renders







Comments