As we all know, technology is advancing very quickly, and therefore companies have to think years ahead when planning. In this way, we can obtain information about products such as the iPhone 16, which are far in the future. Especially patents can give us a glimpse into what a company is thinking about, even if they don’t guarantee that a product is in development. Finally, some of Apple’s plans for smartwatches have emerged. Accordingly, the company has seriously considered incorporating a camera into the Apple Watch. Here are the details..
Apple sure has a lot of patents about adding a camera to the Apple Watch
Patent applications can provide a lot of information about a company’s future. It is possible to understand that a new product will be released or what features will be added to an existing product. Lastly, Apple was granted a patent (US-11571048-B1) for an Apple Watch strap release mechanism that could potentially be used with a built-in camera. First of all, we should note that the fact that the US technology giant made such a patent application does not mean that it will produce an Apple Watch with a camera. It simply shows us that the company is considering some ideas.



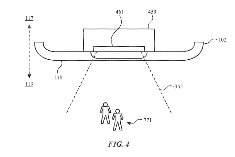
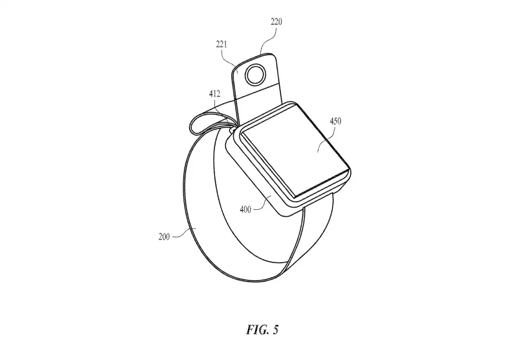
The patent was first spotted by Patently Apple and it details a strap with two segments and a “nest” portion that could be used to quickly and ergonomically pop the watch out of the strap. The idea behind this mechanism is to open up new ways to use the Apple Watch, including taking pictures with a built-in camera. The patent illustrates a person holding the strapless watch to take a picture, and a cross-section of an Apple Watch with a bottom-facing built-in camera and its field of view. To take a picture, the user would simply pop out the watch, hold up the camera portion, and snap a picture.
This is not the first time Apple has filed camera-related patents for the Apple Watch. The company was granted another patent last year simply titled “Watch having a camera.” This patent described a camera placed within the digital crown and had diagrams that were similar to those in the recent patent. In 2019, Apple also won a patent for a rotatable camera built into the end of a strap. It’s worth mentioning that there’s already a third-party Apple Watch accessory called the Wristcam that functions similarly.
A camera on an Apple Watch could have a lot of potential uses. One of the key benefits of the Apple Watch is that it enables iPhone users to spend less time on their phones, and even leave it behind when running errands, going for a walk, or exercising. However, what happens when someone wants to take a picture of something they see while out and about? Without a phone, they wouldn’t have any evidence. A camera on the Apple Watch could solve this problem.However, it is too early to talk about all this.
RELATED:
- Japan Proposes Reforms to Address Google and Apple’s Mobile OS Monopoly
- The World’s First AirPods Pro with USB-C Didn’t Come From Apple (video)
- Huawei Lost 80 Million of Its Customers to Xiaomi, Apple, & Honor: Lu Weibing
- Upcoming Galaxy S24 Will Have a Better Chipset Compared to Apple A16 Bionic
- Under Screen Face ID Patent Granted by Apple; Next Generation of Dynamic Island
(source)







Comments