Sony hasn’t been on top of their game as of late, but now we’ve got something new from them. According to LetsGoDigital, the company has just filed a new patent for a foldable smartphone. What makes Sony’s approach unique however is that the patent shows all the common smartphone sensors crammed in the screen, unlike other approaches.
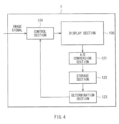
The new foldable smartphone patent from Sony shows a flexible display on the front and back with a pressure sensor, acceleration sensor, and temperature sensor. The company also believes they can have other sensors such as a photosensor and a resistance sensor could also be added to the display. These allow the device to find out how the user is holding their device, which by extension allow the UI to adapt to the user’s holding habits.
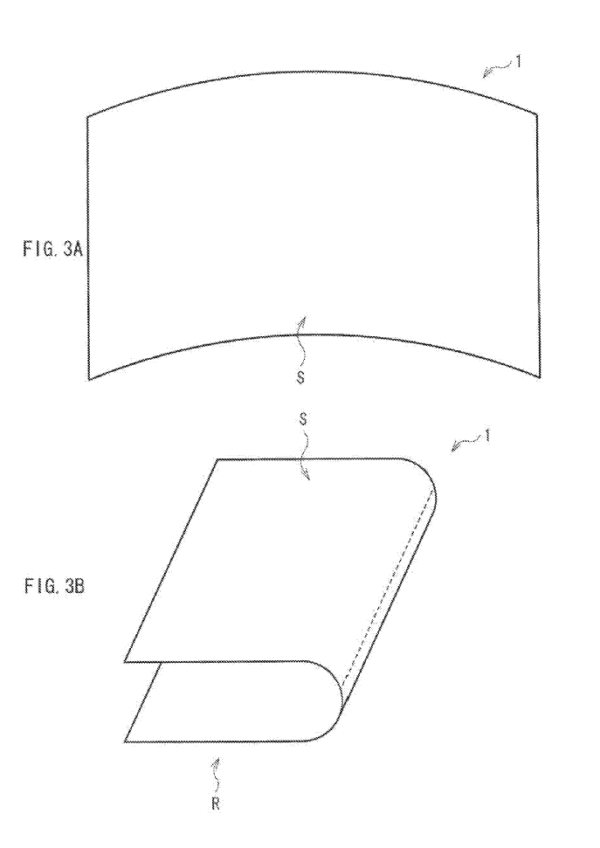
The front and rear sides would have transparent displays, and the smartphone itself would fold together in a curved state. This means it’s unlike Samsung’s approach which involves two displays on the inside and outside of the fold. The company has opted for the display to only be on the outside, which firmly places it in the Huawei Mate X school of folding phones.
There’s no word on when Sony will launch its foldable smartphone or if we’ll even ever see this as a Sony folding phone. But it seems like Samsung and Huawei are pushing forward into the foldable phone sector, and it makes sense that Sony would want to dip in too. Don’t want to be late to the party and need to contend with companies like Xiaomi.
UP NEXT: Sony WF-1000XM3 Review – The wireless earbuds with amazing noise reduction
(Source)







Comments