Until 2019, Samsung has had two lineups of high-end smartphones which include the ‘Galaxy S’ and ‘Galaxy Note’, however, with the introduction of the Galaxy Fold, it now has three. While the early generations of Galaxy S and Galaxy Note devices had considerably different screen size, with the latest generation of smartphones that difference has reduced drastically.
For refernce, the Galaxy S10 has a 6.1 inch dipslay, on the other hand, the Galaxy Note 10 has a 6.3 inch display and this negligible difference might not be enough to justify having two entirely different lineups. Having said that, these lineups do have one feature that can easily draw a distinguishing line which is the ‘S-Pen’ found on Galaxy Note smartphones.
According to a freshly granted patent, Samsung is developing another foldable smartphone, but unlike the Galaxy Fold, this device is compatible with S-Pen and will support air gestures.
Both aspects i.e neglible difference between Galaxy Note and Galaxy S devices, and the newly patented foldable phone with S-Pen supports suggests Samsung might be “looking forward to unify the Galaxy Fold and Galaxy Note lineup”.
Editor’s Pick: Huawei Mate 30 Pro Google Apps workaround is reportedly still working fine
Talking more about the Samsung smartphone from the patent, it has a clamshell like design which is dissimilar to the Galaxy Fold. Clearly, Samsung is not aimig towards making a smartphone-tablet hybrid, instead, the concept behind it seems similar to the foldable Moto Razr which is reproted to launch before the end of 2019.
Besides, the hinge of this Samsung smartphone can open upto an estimed angle of 270 degrees. In contrast, the Galaxy Fold was limited to just 180 degrees.
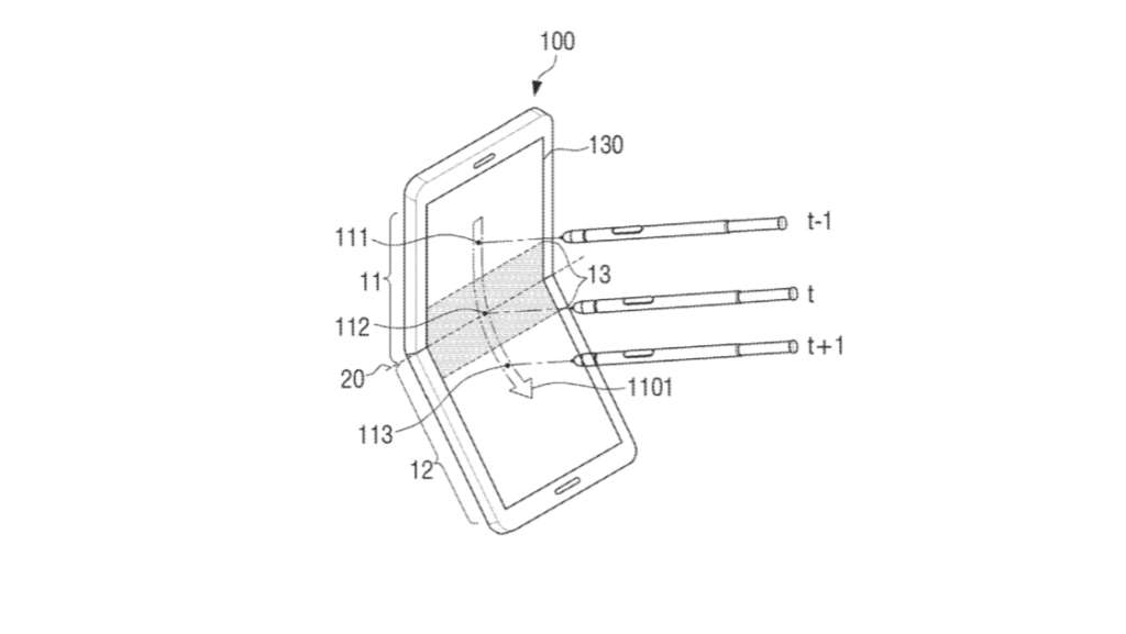
The patent also exhibits an interesting feature of the device that is being able to move icons or content from one half of the screen to the other without having to maintian a continuous drag with stylus or finger. Instead, the screen of such a device will be equipped with a special layer that can sense the tip of the stylus or finger without having to physically touch it. Therefore users can first select an icon by tapping on it and then they can move the stylus or finger in mid air (staying close enough so it can stay registered) to the other half even when in a folded state. The illustration shared below will make it easier to understand.
It is well known that Samsung Galaxy Fold’s display is made out of soft plastic and it can be easily scratched. Accordingly, Samsung will have to first overcome this hurdle in order to make a commercially available foldable smartphone that supports S-Pen.
While the launch of this device still seems distant, Samsung is expected to showcase its second generation of foldable handsets at the MWC 2020 event which is scheduled for 24th and 27th February.
All in all, nothing has been set in the stone and we would recommend taking this handset with a grain of salt until future developments.
We will keep you updated, so stay tuned.
(via)
UP NEXT: Redmi 8 to come with USB-C port, fast charge and more






![[Update] Motorola responds to reports of legal action against 300+ creators](https://www.gizmochina.com/wp-content/uploads/2026/03/Motorola-Edge-70-Fusion-1-1-100x70.png)
Comments