Last month, Samsung teased their rollable, foldable, & slideable OLED displays for phones, tablets, & even laptops. Well, it looks like the technology might even be coming to smartwatches, as new patents have surfaced of a Samsung smartwatch featuring a rollable display and a camera.
First spotted by LetsGoDigital, the 96-page patent document was filed with the World Intellectual Property Office (WIPO) on June 2, 2021, and was released and published yesterday, on December 9.
First spotted by LetsGoDigital, the 96-page patent document was filed with the World Intellectual Property Office (WIPO) on June 2, 2021, and was released and published yesterday on December 9.
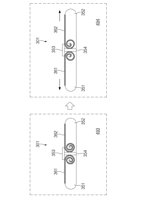
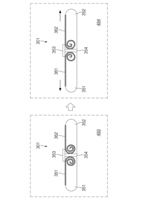
The screen can be extended by pressing the crown of the watch or through touch-screen activation. When extended, the outer frame of the watch expands, allowing the additional screen real estate rolled up inside the body of the watch to unfold, expanding the screen by up to 40%. The technology even allows users to decide whether only one or two screen parts are rolled to roll out.
Coming back to the camera, the extension and retraction of the screen do not appear to hinder it, meaning it can make for an excellent selfie camera.
The technical specs of this Samsung rollable display smartwatch are unavailable right now, along with an expected timeline. But one thing can be said for certain that if Samsung is able to apply this technology, as illustrated in the patents, it will be the next step in the evolution of wearable gadgets.
RELATED:
- Full specs of the Samsung Galaxy S21 FE surface online
- TCL showcases its foldable and rollable phone concept at DTC 2021
- Samsung teases rollable, foldable, & slideable OLED displays for phones, tablets, & even laptops
- Honor patents rollable smartphone with a wrap-around display







Comments