OPPO has been granted a patent that could change how blood pressure monitoring systems are integrated into smartwatches. Filed with the World Intellectual Property Organization (WIPO), the patent outlines a simplified and more efficient method for measuring blood pressure.
Limitations of Current Technology

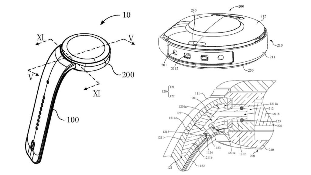
Smartwatches like Huawei’s Watch D2 use an airbag in the strap to measure blood pressure. The airbag is inflated by an air pump located in the watch head, connected via an air nozzle. While functional, this design has a significant drawback: the air nozzle takes up space in the watch head, limiting the placement of other components such as additional sensors.
How OPPO’s System Works
OPPO’s patent eliminates the need for a separate air nozzle by incorporating the air path into the watch strap. The watch head houses an air pump and a shell assembly that connects to the strap via a “connecting assembly.” This connection completes the air path, allowing the pump to inflate and deflate the airbag without a separate nozzle.
This design not only reduces manufacturing complexity but also provides better placement options for internal components. It frees up space in the watch head, allowing for more compact and flexible designs.
Although OPPO has secured the patent, it is unclear when the company will introduce this technology to its smartwatches. Reports suggest the upcoming OPPO Watch X2 may feature blood pressure monitoring, but it is not confirmed if this specific system will be used.
On the topic of the Watch X2, reports so far have revealed that the watch will come in three different models: the standard Watch X2, a larger 46mm version, and the premium Watch X2 Pro, with some models possibly rebranded as the OnePlus Watch 3 globally. Key features include blood pressure and ECG monitoring, wrist temperature measurement, a 60-second health check, and fitness tracking with GPS support.







Comments