A new patent from Apple has revealed a pair of glasses that automatically adjust to users’ eyes and make up for any deficiencies. The patent was published earlier today (17th June 2020) with the US Patent and Trademark Office (USPTO).

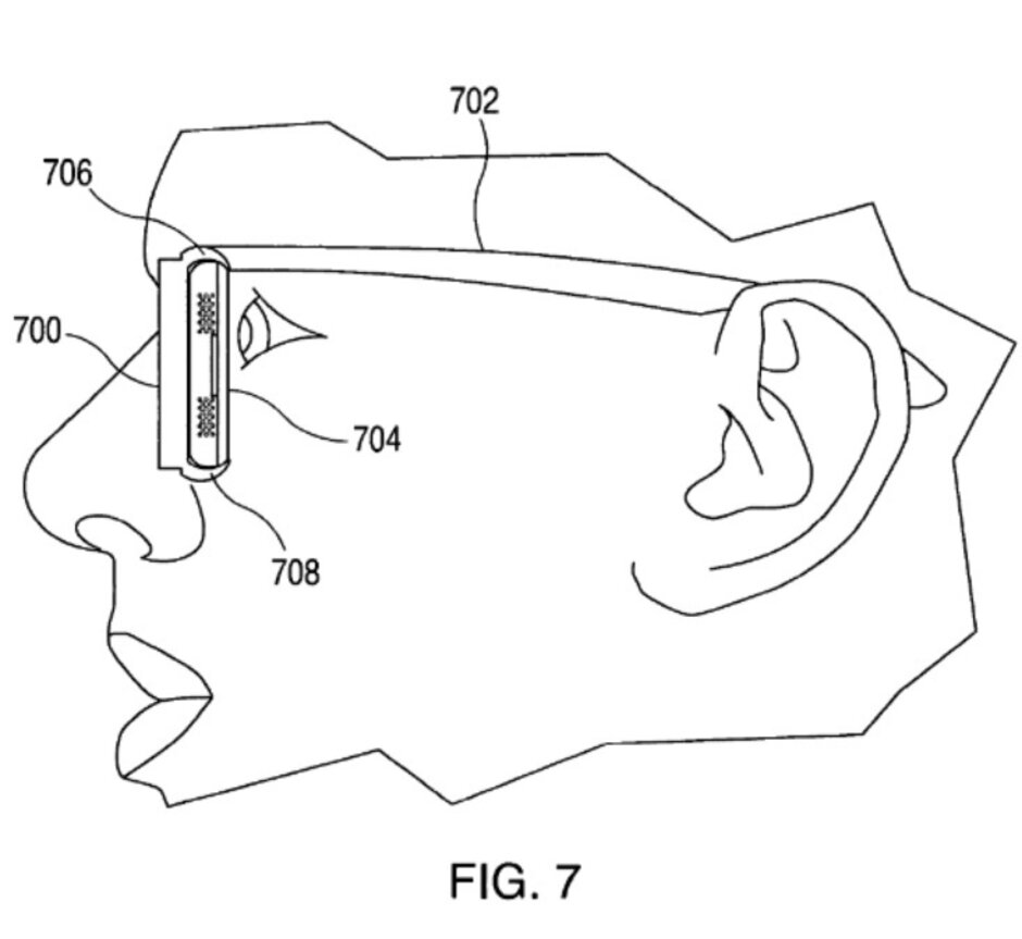
In the patent, the technology behind a self correcting lenses is described that may be used on the rumored Apple Glass. This product is said to be an AR eyewear and will work along with a smartphone (resembles an iPhone in the patented images). The smartphone will slide into the frame and will connect to internal connectors, after which, it will act as the display.
Editor’s Pick: Huawei delays the production of flagship smartphones due to recent US Sanctions
Apple has labeled this patent as “Head-mounted display apparatus for retaining a portable electronic device with display,” on multiple occasions. But the latest iteration of the patent depicts a new system that can change positions and configurations of the gadget’s optical components. In other words, Apple Glass would be able to adjust according to the users’ prescription.

Furthermore, the screen can be adjusted to make the image being displayed clearer. This is achieved by changing the position of images on the lens and resizing the content. Looking at the patented images, the processing power behind this method will be done through an iPhone. This system is similar to the early iterations of the Apple Watch, which also required an iPhone to run many of its features. Unfortunately, we don’t have much to go on over just a patent, but the Apple Glass is expected to arrive sometime next year.
UP NEXT: Huawei captured 90% of China’s premium smartphone segment in Q1 2020 while Apple led globally
(Via)







Comments