Huawei has just been granted a new patent for what appears to be a unique futuristic smartphone. The device in the documents appears to have a flexible rolling display panel technology.

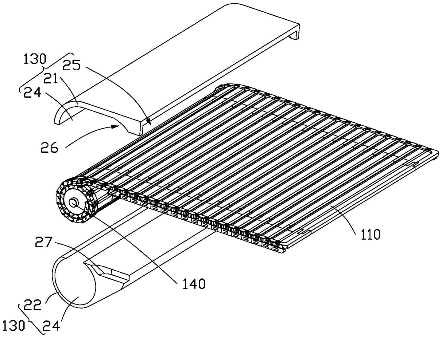
The patent was filed with the Chinese State Intellectual Property Office and was titled “flexible screen support mechanism and rollable electronic equipment.” The documents carried the patent number CN114439843A (Via ITHome). Looking at this document, the patent describes an electronic device that has a flexible display technology that is supported by a unique that is housed under the screen. The patent description further added that it will have “simple structure, small storage space, and can be applied to portable devices.”
Notably, the structure observed in the patent sketches that supports the device’s display also includes a rotating component as well. It has a rotating shaft mechanism that is covered by a protective case on either side. Although, it is unclear if the rotating process itself is automated or manual. Meanwhile, the support mechanism has various brace like structures that enable the foldable screen.
As of right now, it is unclear if this patented device is actually a smartphone. It is quite likely that the product is a portable display of sorts that is meant to be carried around with a low powered chipset for basic UI functions that is paired with a small storage as well. Keep in mind that this is still just a patent and we have no way of confirming whether the Chinese tech giant is actually working on a such a product or is simply covering all bases.
RELATED:
- Huawei MatePad SE tablet goes on sale in China with a starting price of 1,499 yuan ($215)
- Huawei Band 7 with 5ATM waterproofing, NFC & more goes on sale in China
- Huawei Watch GT 3 Pro Europe pricing tipped ahead of launch







Comments